Mexen Flow piatto doccia rettangolare slim 160 x 95 cm, bianco lucido - 46R109516

Mexen Flow piatto doccia rettangolare slim 160 x 95 cm, bianco lucido - 46R109516

  • Giornate del Bagno
Mexen Flow piatto doccia rettangolare slim 160 x 95 cm, bianco lucido - 46R109516
search
  • Mexen Flow piatto doccia rettangolare slim 160 x 95 cm, bianco lucido - 46R109516
  • Mexen Flow piatto doccia rettangolare slim 160 x 95 cm, bianco lucido - 46R109516
  • Mexen Flow piatto doccia rettangolare slim 160 x 95 cm, bianco lucido - 46R109516
  • Mexen Flow piatto doccia rettangolare slim 160 x 95 cm, bianco lucido - 46R109516
  • Mexen Flow piatto doccia rettangolare slim 160 x 95 cm, bianco lucido - 46R109516
  • Mexen Flow piatto doccia rettangolare slim 160 x 95 cm, bianco lucido - 46R109516
Mexen Flow piatto doccia rettangolare slim 160 x 95 cm, bianco lucido - 46R109516
Mexen Flow piatto doccia rettangolare slim 160 x 95 cm, bianco lucido - 46R109516 Mexen Flow piatto doccia rettangolare slim 160 x 95 cm, bianco lucido - 46R109516 Mexen Flow piatto doccia rettangolare slim 160 x 95 cm, bianco lucido - 46R109516 Mexen Flow piatto doccia rettangolare slim 160 x 95 cm, bianco lucido - 46R109516 Mexen Flow piatto doccia rettangolare slim 160 x 95 cm, bianco lucido - 46R109516 Mexen Flow piatto doccia rettangolare slim 160 x 95 cm, bianco lucido - 46R109516
Akryl+ Akryl+
Fondo rinforzato Fondo rinforzato
Ultra sottile Ultra sottile
Marca:
Serie:
Ean:
5905315950598
Indice:
46R109516
Lato più lungo:
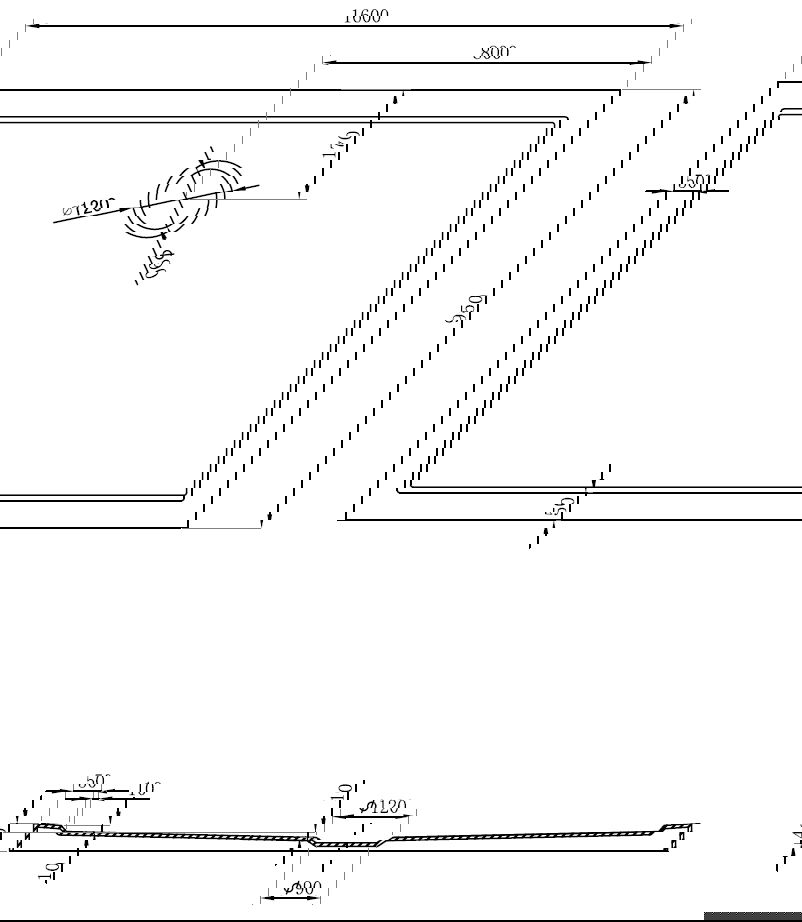
160 cm
Lato più corto:
95 cm
Altezza:
4 cm
Colore:
Bianco
Colore - Bianco - ()
Superficie - Lucido - ()

Mexen Flow piatto doccia rettangolare slim 160 x 95 cm, bianco lucido - 46R109516

Specifiche del prodotto:

Dimensioni: 160x95x4 cm

Colore: Bianco lucido

Tipo: Rettangolare, Slim

Materiale: Acrilico sanitario

Fondo rinforzato

Diametro scarico: 90 mm

Il piatto doccia non include il sifone

Soluzioni innovative utilizzate in questo prodotto

Akryl+

L'uso dell'acrilico in bagno è una soluzione molto pratica. L'acrilico conserva bene la temperatura dell'acqua, impedendole di raffreddarsi rapidamente. Ha anche proprietà acustiche, riducendo così il rumore nel bagno.

Fondo rinforzato

Il fondo del piatto doccia è stato ulteriormente rinforzato con fibra di vetro e pannello HDF, il che lo rende non solo resistente, ma garantisce anche sicurezza durante il bagno. Il fondo rinforzato assicura un utilizzo prolungato del piatto doccia.

Ultra sottile

Il piatto doccia ha una soglia bassa, il che facilita l'ingresso e l'uscita dalla doccia. Aggiunge un tocco eccezionale e senza tempo alla stanza, rendendo il bagno un luogo confortevole ed esteticamente gradevole per il relax quotidiano.

Piatto doccia profilato

Il piatto doccia è stato progettato in modo che l'acqua possa defluire liberamente verso lo scarico. Garantisce un rapido ed efficiente drenaggio dell'acqua dalla superficie del piatto doccia, prevenendo la formazione di pozzanghere e l'allagamento del bagno.

PerfectClean

Il prodotto ha una superficie liscia che incanta con il suo splendore e sottolinea l'aspetto estetico. La cura quotidiana e la pulizia delle superfici dallo sporco accumulato sono molto più facili e non richiedono l'uso di detergenti forti.

2 anni di garanzia

Il prodotto è coperto da una garanzia di 2 anni. In caso di problemi con il prodotto acquistato, ti invitiamo a contattarci tramite il modulo di contatto o telefonicamente al numero dell'assistenza.

Serie
Lato più lungo
160 cm
Lato più corto
95 cm
Altezza
4 cm
Colore
Bianco
Superficie
Lucido
Materiale
Acrilico
Profondità
12 mm
Diametro di scarico
90 mm
Sifone incluso
No
Istruzioni per l'uso
Informazioni sulla sicurezza
Condizioni di garanzia
Produttore

Non hai trovato la risposta?

Scrivi a noi

Il prodotto non ha ancora opinioni. Lascia la tua opinione!

Mexen Flow piatto doccia rettangolare slim 160 x 95 cm, bianco lucido - 46R109516

Mexen Flow piatto doccia rettangolare slim 160 x 95 cm, bianco lucido - 46R109516

Prezzo di listino: 239,10 €

191,29 € (con IVA)

Più economico di 47,81 €

20%

Prezzo più basso degli ultimi 30 giorni: 191,29 €

Akryl+ Akryl+
Fondo rinforzato Fondo rinforzato
Ultra sottile Ultra sottile
Marca:
Serie:
Ean:
5905315950598
Indice:
46R109516
Lato più lungo:
160 cm
Lato più corto:
95 cm
Altezza:
4 cm
Colore:
Bianco
Colore - Bianco - ()
Superficie - Lucido - ()
Caricamento...