Mexen Helios radiatore da bagno 1200 x 500 mm, 448 W, dorato - W103-1200-500-00-50

Mexen Helios radiatore da bagno 1200 x 500 mm, 448 W, dorato - W103-1200-500-00-50

Mexen Helios radiatore da bagno 1200 x 500 mm, 448 W, dorato - W103-1200-500-00-50
search
  • Mexen Helios radiatore da bagno 1200 x 500 mm, 448 W, dorato - W103-1200-500-00-50
  • Mexen Helios radiatore da bagno 1200 x 500 mm, 448 W, dorato - W103-1200-500-00-50
  • Mexen Helios radiatore da bagno 1200 x 500 mm, 448 W, dorato - W103-1200-500-00-50
  • Mexen Helios radiatore da bagno 1200 x 500 mm, 448 W, dorato - W103-1200-500-00-50
  • Mexen Helios radiatore da bagno 1200 x 500 mm, 448 W, dorato - W103-1200-500-00-50
  • Mexen Helios radiatore da bagno 1200 x 500 mm, 448 W, dorato - W103-1200-500-00-50
  • Mexen Helios radiatore da bagno 1200 x 500 mm, 448 W, dorato - W103-1200-500-00-50
Mexen Helios radiatore da bagno 1200 x 500 mm, 448 W, dorato - W103-1200-500-00-50
Mexen Helios radiatore da bagno 1200 x 500 mm, 448 W, dorato - W103-1200-500-00-50 Mexen Helios radiatore da bagno 1200 x 500 mm, 448 W, dorato - W103-1200-500-00-50 Mexen Helios radiatore da bagno 1200 x 500 mm, 448 W, dorato - W103-1200-500-00-50 Mexen Helios radiatore da bagno 1200 x 500 mm, 448 W, dorato - W103-1200-500-00-50 Mexen Helios radiatore da bagno 1200 x 500 mm, 448 W, dorato - W103-1200-500-00-50 Mexen Helios radiatore da bagno 1200 x 500 mm, 448 W, dorato - W103-1200-500-00-50 Mexen Helios radiatore da bagno 1200 x 500 mm, 448 W, dorato - W103-1200-500-00-50
Acciaio Acciaio
Massimo 0,6 Mpa Massimo 0,6 Mpa
Max. 95°C Max. 95°C
Marca:
Serie:
Ean:
5905315050687
Indice:
W103-1200-500-00-50
Altezza:
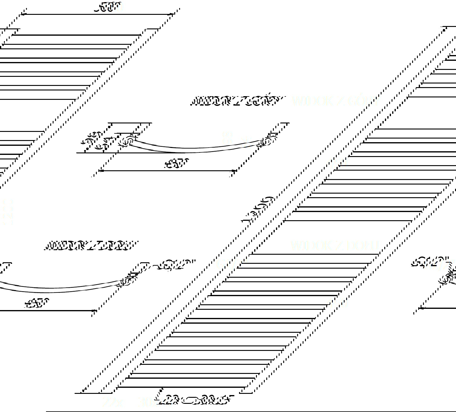
1200 mm
Colore:
Oro
Larghezza:
500 mm
Potenza termica:
448 W
Larghezza - 500 mm - ()
Colore - Oro - ()

Mexen Helios radiatore da bagno 1200 x 500 mm, 448 W, dorato - W103-1200-500-00-50

Mexen Helios è un lussuoso radiatore da bagno con dimensioni di 1200 x 500 mm e un eccezionale colore dorato, che aggiunge eleganza a qualsiasi bagno. Realizzato in acciaio, si distingue non solo per il suo aspetto elegante, ma anche per l'alta durata e resistenza alla corrosione grazie al rivestimento speciale. Ha una potenza termica di 448 W, garantendo un riscaldamento ottimale. Dotato di 4 collegamenti ½″ e opzione di montaggio dell'elemento riscaldante, offre flessibilità di installazione. Nel set sono inclusi tutti gli accessori di montaggio necessari.

Dati tecnici:

Altezza: 1200 mm

Larghezza: 500 mm

Profondità: 64 mm

Interasse di collegamento: 45 cm 

Colore: Dorato

Materiale: Acciaio

Peso: 9,65 kg

Capacità: 5,1 l

Reazione al fuoco: A1

Temperatura di lavoro: max 95 °C 

Pressione di esercizio massima: 0,6 Mpa

Potenza termica:

- 75/65/20 °C - 448 W

Connessioni:

- 4xG ½″ dall'alto e dal basso sul lato destro o sinistro

Possibilità di installazione dell'elemento riscaldante

Rivestimento di alta qualità, resistente alla corrosione

Inclusi: supporti, kit di montaggio, tappi di chiusura e valvola di sfiato

Soluzioni innovative utilizzate in questo prodotto

Acciaio

Il prodotto è realizzato in acciaio a basso tenore di carbonio di alta qualità, che non solo garantisce una lunga durata del dispositivo e resistenza alla corrosione, ma consente anche di riscaldare rapidamente l'ambiente e offre agli utenti un comfort termico.

Massimo 0,6 Mpa

La pressione di esercizio massima è di 0,6 Mpa (6 bar). Ciò significa che il radiatore può funzionare in modo sicuro ed efficiente in condizioni di utilizzo standard. Garantisce un comfort termico ottimale e una temperatura piacevole nell'ambiente.

Max. 95°C

La temperatura massima raggiunta dal radiatore durante il funzionamento è di 95°C. Ciò consente un riscaldamento efficace ed efficiente della stanza, garantendo al contempo sicurezza agli utenti e alle superfici circostanti il radiatore.

Resistenza all'appannamento e alla corrosione

Prodotto realizzato con materiali di alta qualità resistenti all'appannamento e alla corrosione, grazie ai quali mantiene il suo aspetto attraente e la funzionalità per lungo tempo, indipendentemente dal livello di umidità nell'ambiente.

10 anni di garanzia

Il prodotto è coperto da una garanzia di 10 anni. In caso di problemi con il prodotto acquistato, vi invitiamo a contattarci tramite il modulo di contatto o telefonicamente al numero dell'assistenza clienti.

Serie
Larghezza
500 mm
Altezza
1200 mm
Tipo
Potenza termica
448 W
Colore
Oro
Materiale
Acciaio
Intensità di montaggio
Universale
Profondità
54 mm
Interasse collegamento
45 cm
Connessione
Inferiore
Orientamento
Verticale
Condizioni di garanzia
Informazioni sulla sicurezza
Istruzioni per l'uso
Produttore

Non hai trovato la risposta?

Scrivi a noi

100% I clienti raccomandano questo prodotto
Qualità
Aspetto
5.0
Valutazione generale basata su 1 Opinione

  • Confermato
  • Altre varianti

Mexen Helios radiatore da bagno 1200 x 500 mm, 448 W, dorato - W103-1200-500-00-50

Mexen Helios radiatore da bagno 1200 x 500 mm, 448 W, dorato - W103-1200-500-00-50

Prezzo di listino: 338,30 €

270,69 € (con IVA)

Più economico di 67,61 €

19,99%

Prezzo più basso degli ultimi 30 giorni: 270,69 €

Acciaio Acciaio
Massimo 0,6 Mpa Massimo 0,6 Mpa
Max. 95°C Max. 95°C
Marca:
Serie:
Ean:
5905315050687
Indice:
W103-1200-500-00-50
Altezza:
1200 mm
Colore:
Oro
Larghezza:
500 mm
Potenza termica:
448 W
Larghezza - 500 mm - ()
Colore - Oro - ()
Caricamento...